Notitie
Voor toegang tot deze pagina is autorisatie vereist. U kunt proberen u aan te melden of de directory te wijzigen.
Voor toegang tot deze pagina is autorisatie vereist. U kunt proberen de mappen te wijzigen.
Gastattestation helpt u te bevestigen dat uw vertrouwelijke VM-omgeving wordt beveiligd door een legitieme, hardware-ondersteunde Trusted Execution Environment (TEE) met beveiligingsfuncties die zijn ingeschakeld voor isolatie en integriteit.
U kunt de attestation van gasten gebruiken voor het volgende:
- Zorg ervoor dat de vertrouwelijke VM wordt uitgevoerd op het verwachte hardwareplatform
- Controleer of de vertrouwelijke VM Veilige opstarten is ingeschakeld. Deze instelling beveiligt lagere lagen van de VIRTUELE machine (firmware, opstartlaadprogramma, kernel) tegen malware (rootkits, bootkits).
- Bewijs verkrijgen voor een vertrouwende partij dat de vertrouwelijke VM op vertrouwelijke hardware draait
Opmerking
Als u gastverklaring wilt uitvoeren voor DCesv5- en ECesv5-VM's die worden ondersteund door Intel TDX, is hier een handleiding beschikbaar. Voor het gebruik van Intel Trust Authority is registratie met Intel vereist.
Scenariën
De belangrijkste onderdelen en services die betrokken zijn bij de attestation van gasten zijn:
- De werklast
- De bibliotheek voor gasten-attestaties
- Hardware (voor rapportage). Bijvoorbeeld AMD-SEVSNP.
- De Microsoft Azure Attestation-service
- Antwoord op JSON-webtoken
Typische operationele scenario's gebruiken de clientbibliotheek om attestation-aanvragen te doen zoals hieronder weergegeven.
Scenario: aanvraag in afzonderlijk werkpakket
In dit voorbeeldscenario worden attestation-aanvragen gedaan in een afzonderlijke workload. De aanvragen bepalen of de vertrouwelijke VM wordt uitgevoerd op het juiste hardwareplatform voordat een workload wordt gestart.
Een workload (platformcontroleclient in het diagram) moet worden geïntegreerd met de attestation-bibliotheek en worden uitgevoerd in de vertrouwelijke VM om de attestation uit te voeren. Nadat het programma een aanvraag naar de attestation-bibliotheek heeft ingediend, parseert de workload het antwoord om te bepalen of de VM wordt uitgevoerd op het juiste hardwareplatform en/of beveiligde opstartinstelling voordat de gevoelige werkbelasting wordt gestart.
Dit scenario is vergelijkbaar met het volgende scenario. Het belangrijkste verschil is hoe elk scenario hetzelfde doel bereikt op basis van de locatie van de aanvraag.
Scenario: aanvraag vanuit de workload
In dit voorbeeldscenario worden attestation-aanvragen gedaan binnen de workload aan het begin van het programma. De aanvragen controleren of de vertrouwelijke VM wordt uitgevoerd op het juiste hardwareplatform voordat een workload wordt gestart.
Dit scenario is vergelijkbaar met het vorige scenario. Het belangrijkste verschil is hoe elk scenario hetzelfde doel bereikt op basis van de locatie van de aanvraag.
De werklast van de klant moet worden geïntegreerd met de bewijsbibliotheek en uitgevoerd binnen de vertrouwelijke VM. Nadat de workload van de klant een aanvraag naar de attestation-bibliotheek heeft ingevoerd, analyseert de workload van de klant het antwoord om te bepalen of de virtuele machine wordt uitgevoerd op het juiste hardwareplatform en/of beveiligde opstartinstelling voordat de gevoelige workload volledig wordt ingesteld.
Scenario: handdruk van de vertrouwende partij
In dit voorbeeldscenario moet de vertrouwelijke VM bewijzen dat deze wordt uitgevoerd op een vertrouwelijk platform voordat een relying party betrokken wordt. De vertrouwelijke VM geeft een attestation-token af aan de vertrouwende partij om de afspraak te starten.
Enkele voorbeelden van afspraken zijn:
- De vertrouwelijke VM wil geheimen van een geheime beheerservice.
- Een client wil ervoor zorgen dat de vertrouwelijke VM wordt uitgevoerd op een vertrouwelijk platform voordat persoonlijke gegevens worden weergegeven aan de vertrouwelijke VM voor verwerking.
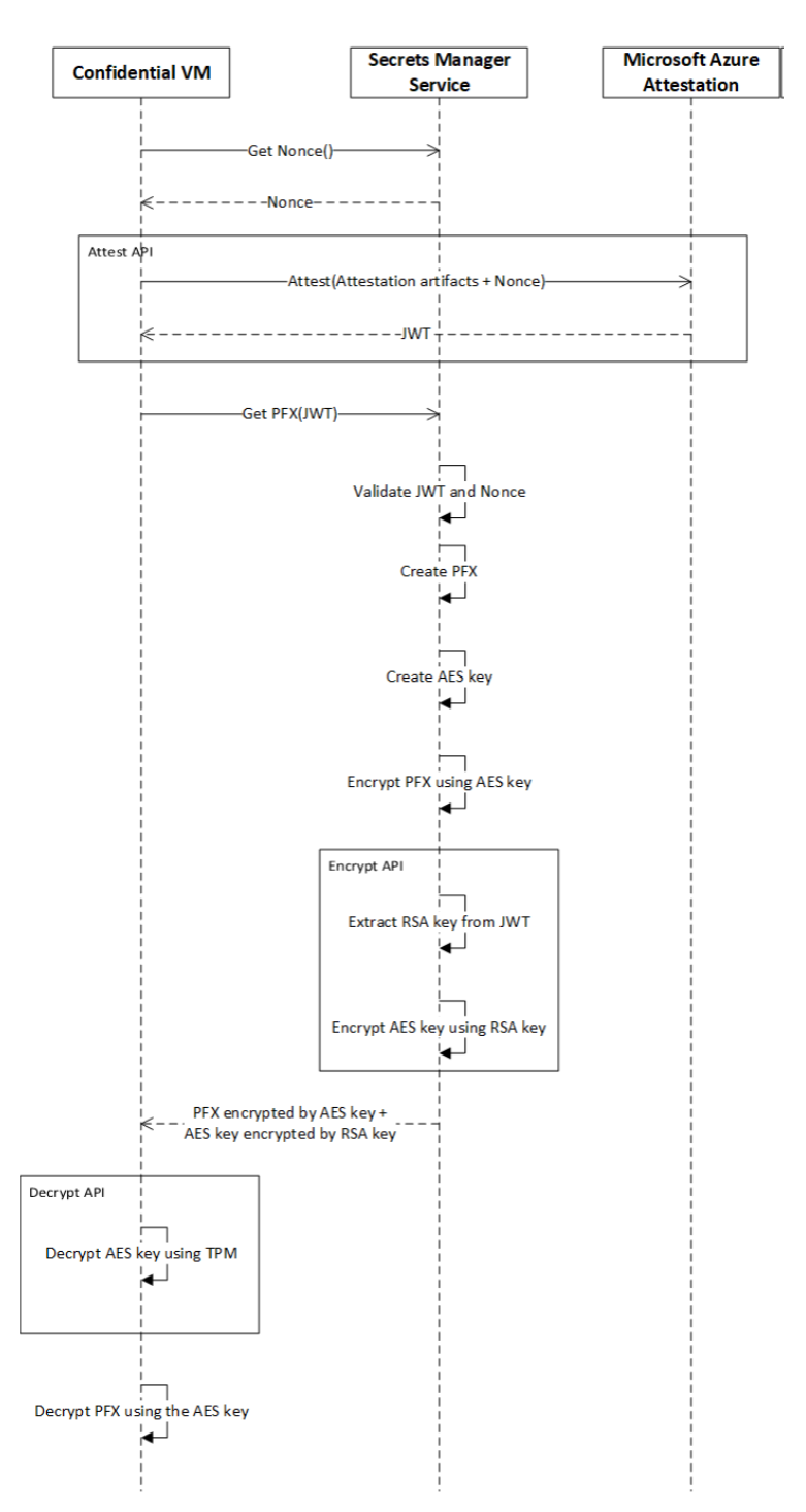
In het volgende diagram ziet u de handshake tussen een vertrouwelijke VM en de afhankelijke partij.
In het volgende sequentiediagram wordt het relying party-scenario verder uitgelegd. De aanvraag/reactie tussen de betrokken systemen maakt gebruik van de API's van de gastattestbibliotheek. De vertrouwelijke VM communiceert met de geheimenbeheerder om zichzelf op te starten met behulp van de ontvangen geheimen.
Apis
Microsoft biedt de gastverklaringbibliotheek met API's om attestaties uit te voeren en zowel gegevens te versleutelen als te ontsleutelen. Er is ook een API om geheugen vrij te maken.
U kunt deze API's gebruiken voor de verschillende scenario's die eerder zijn beschreven.
Attest-API
De Attest-API neemt het ClientParameters object als invoer en retourneert een ontsleuteld attestation-token. Voorbeeld:
AttestationResult Attest([in] ClientParameters client_params,
[out] buffer jwt_token);
| Kenmerk | Gegevens |
|---|---|
ClientParameters (type: object) |
Object dat de versie (type: uint32_t), attestation-tenant-URI (type: niet-ondertekend teken) en clientpayload (type: niet-ondertekend teken) gebruikt. De payload van de client bestaat uit nul of meer sleutel-waardeparen voor clientmetagegevens die worden geretourneerd in de payload van het antwoord. De sleutel-waardeparen moeten de JSON-tekenreeksindeling "{\"key1\":\"value1\",\"key2\":\"value2\"}"hebben. De sleutelwaarde voor de attestatieversheid kan bijvoorbeeld als {\”Nonce\”:\”011510062022\”} eruitzien. |
buffer |
JSON-webtoken met attestation-informatie. |
De Attest-API retourneert een AttestationResult (type: structuur).
API versleutelen
De Encrypt-API gebruikt gegevens die als invoer moeten worden versleuteld en een JSON-webtoken. De API versleutelt de gegevens met behulp van de openbare tijdelijke sleutel die aanwezig is in het JSON-webtoken. Voorbeeld:
AttestationResult Encrypt(
[enum] encryption_type,
[in] const unsigned char* jwt_token,
[in] const unsigned char* data,
[in] uint32_t data_size,
[out] unsigned char** encrypted_data,
[out] uint32_t* encrypted_data_size,
[out] unsigned char** encryption_metadata,
[out] uint32_t encryption_metadata_size);
| Kenmerk | Uitleg |
|---|---|
encryption_type |
Geen. |
const unsigned char* jwt_token |
JSON-webtoken met attestation-informatie. |
const unsigned char* data |
Gegevens die moeten worden versleuteld |
uint32_t data_size |
De grootte van de gegevens die moeten worden versleuteld. |
unsigned char** encrypted_data |
Versleutelde gegevens. |
uint32_t* encrypted_data_size |
Grootte van versleutelde gegevens. |
unsigned char** encryption_metadata |
Versleutelingsmetagegevens. |
uint32_t encryption_metadata_size |
Grootte van versleutelingsmetagegevens. |
De Encrypt-API retourneert een AttestationResult (type: structuur).
API ontsleutelen
De ontsleutelings-API gebruikt versleutelde gegevens als invoer en ontsleutelt de gegevens met behulp van de persoonlijke kortstondige sleutel die is verzegeld met de Trusted Platform Module (TPM). Voorbeeld:
AttestationResult Decrypt([enum] encryption_type,
[in] const unsigned char* encrypted_data,
[in] uint32_t encrypted_data_size,
[in] const unsigned char* encryption_metadata,
[in] unit32_t encryption_metadata_size,
[out] unsigned char** decrypted_data,
[out] unit32_t decrypted_data_size);
| Kenmerk | Uitleg |
|---|---|
encryption_type |
Geen. |
const unsigned char* encrypted_data |
Gegevens die moeten worden ontsleuteld. |
uint32_t encrypted_data_size |
De grootte van de gegevens die moeten worden ontsleuteld. |
const unsigned char* encryption_metadata |
Versleutelingsmetagegevens. |
unit32_t encryption_metadata_size |
Grootte van versleutelingsmetagegevens. |
unsigned char** decrypted_data |
Ontsleutelde gegevens. |
unit32_t decrypted_data_size |
Grootte van ontsleutelde gegevens. |
De Decrypt-API retourneert een AttestationResult (type: structure).
Gratis API
Met de gratis API wordt geheugen vrijgemaakt die wordt bewaard door gegevens. Voorbeeld:
Free([in] buffer data);
| Kenmerk | Uitleg |
|---|---|
data |
Geheugen vrijmaken dat wordt bewaard door gegevens. |
De gratis API retourneert niets.
Foutcodes
De API's kunnen de volgende foutcodes retourneren:
| Foutcode | Beschrijving |
|---|---|
| 1 | Fout bij initialiseren. |
| 2 | Fout bij het parseren van het antwoord. |
| 3 | Beheerde identiteiten voor Azure-resources: token niet gevonden |
| 4 | Verzoek heeft het maximum aantal pogingen overschreden. |
| 5 | Aanvraag is mislukt. |
| 6 | Attestation is mislukt. |
| 7 | Verzenden van aanvraag is mislukt. |
| 8 | Ongeldige invoerparameter. |
| 9 | Validatie van attestation-parameters is mislukt. |
| 10 | Geheugentoewijzing is mislukt. |
| 11 | Kan besturingssysteemgegevens (OS) niet ophalen. |
| 12 | Interne TPM-fout. |
| 13 | TPM-operatie is mislukt. |
| 14 | Ontsleuteling van JSON-webtoken is mislukt. |
| 15 | TPM-fout met JSON-webtokenontsleuteling. |
| 16 | Ongeldig JSON-antwoord. |
| zeventien | Leeg VCEK-certificaat (Versioned Chip Endorsement Key). |
| 18 | Leeg antwoord. |
| 19 | Lege aanvraagtekst. |
| 20 | Fout bij parseren van rapporten. |
| 21 | Rapport leeg. |
| 22 | Fout bij het extraheren van JSON-webtokengegevens. |
| 23 | Fout bij het converteren van JSON-webtoken naar openbare RSA-sleutel. |
| 24 | EVP_PKEY initialisatie van versleuteling is mislukt. |
| vijfentwintig | EVP_PKEY versleuteling is mislukt. |
| 26 | TPM-fout bij gegevensontsleuteling. |
| 27 | Fout bij het parseren van DNS-gegevens. |
JSON-webtoken
U kunt verschillende onderdelen van het JSON-webtoken extraheren voor de verschillende API-scenario's die eerder zijn beschreven. Hier volgen belangrijke velden voor de functie voor gastattest:
| Aanspraak | Eigenschap | Voorbeeldwaarde |
|---|---|---|
| - | x-ms-azurevm-vmid |
2DEDC52A-6832-46CE-9910-E8C9980BF5A7 |
| AMD SEV-SNP hardware | x-ms-isolation-tee |
sevsnpvm |
| AMD SEV-SNP hardware |
x-ms-compliance-status (onder x-ms-isolation-tee) |
azure-compliant-cvm |
| Beveiligd opstarten |
secure-boot (onder x-ms-runtime>vm-configuration) |
true |
| Virtuele TPM |
tpm-enabled (onder x-ms-runtime>vm-configuration) |
true |
| Virtuele TPM |
kid (onder x-ms-runtime>keys) |
TpmEphemeralEncryptionKey |
{
"exp": 1653021894,
"iat": 1652993094,
"iss": "https://sharedeus.eus.test.attest.azure.net",
"jti": "<value>",
"nbf": 1652993094,
"secureboot": true,
"x-ms-attestation-type": "azurevm",
"x-ms-azurevm-attestation-protocol-ver": "2.0",
"x-ms-azurevm-attested-pcrs": [
0,
1,
2,
3,
4,
5,
6,
7,
11,
12,
13
],
"x-ms-azurevm-bootdebug-enabled": false,
"x-ms-azurevm-dbvalidated": true,
"x-ms-azurevm-dbxvalidated": true,
"x-ms-azurevm-debuggersdisabled": true,
"x-ms-azurevm-default-securebootkeysvalidated": true,
"x-ms-azurevm-elam-enabled": true,
"x-ms-azurevm-flightsigning-enabled": false,
"x-ms-azurevm-hvci-policy": 0,
"x-ms-azurevm-hypervisordebug-enabled": false,
"x-ms-azurevm-is-windows": true,
"x-ms-azurevm-kerneldebug-enabled": false,
"x-ms-azurevm-osbuild": "NotApplicable",
"x-ms-azurevm-osdistro": "Microsoft",
"x-ms-azurevm-ostype": "Windows",
"x-ms-azurevm-osversion-major": 10,
"x-ms-azurevm-osversion-minor": 0,
"x-ms-azurevm-signingdisabled": true,
"x-ms-azurevm-testsigning-enabled": false,
"x-ms-azurevm-vmid": "<value>",
"x-ms-isolation-tee": {
"x-ms-attestation-type": "sevsnpvm",
"x-ms-compliance-status": "azure-compliant-cvm",
"x-ms-runtime": {
"keys": [
{
"e": "AQAB",
"key_ops": [
"encrypt"
],
"kid": "HCLAkPub",
"kty": "RSA",
"n": "<value>"
}
],
"vm-configuration": {
"console-enabled": true,
"current-time": 1652993091,
"secure-boot": true,
"tpm-enabled": true,
"vmUniqueId": "<value>"
}
},
"x-ms-sevsnpvm-authorkeydigest": "<value>",
"x-ms-sevsnpvm-bootloader-svn": 2,
"x-ms-sevsnpvm-familyId": "<value>",
"x-ms-sevsnpvm-guestsvn": 1,
"x-ms-sevsnpvm-hostdata": "<value>",
"x-ms-sevsnpvm-idkeydigest": "<value>",
"x-ms-sevsnpvm-imageId": "<value>",
"x-ms-sevsnpvm-is-debuggable": false,
"x-ms-sevsnpvm-launchmeasurement": "<value>",
"x-ms-sevsnpvm-microcode-svn": 55,
"x-ms-sevsnpvm-migration-allowed": false,
"x-ms-sevsnpvm-reportdata": "<value>",
"x-ms-sevsnpvm-reportid": "<value>",
"x-ms-sevsnpvm-smt-allowed": true,
"x-ms-sevsnpvm-snpfw-svn": 2,
"x-ms-sevsnpvm-tee-svn": 0,
"x-ms-sevsnpvm-vmpl": 0
},
"x-ms-policy-hash": "<value>",
"x-ms-runtime": {
"keys": [
{
"e": "AQAB",
"key_ops": [
"encrypt"
],
"kid": "TpmEphemeralEncryptionKey",
"kty": "RSA",
"n": "<value>"
}
]
},
"x-ms-ver": "1.0"
}
Volgende stappen
- Meer informatie over het ontwerp van de gastverklaring
- Leer hoe u een voorbeeldtoepassing met de gast attestatie-API's kunt gebruiken
- Meer informatie over het gebruik van Microsoft Defender voor Cloud-integratie met vertrouwelijke VM's waarop gastverklaring is geïnstalleerd
- Meer informatie over azure confidential VM's