Delen via


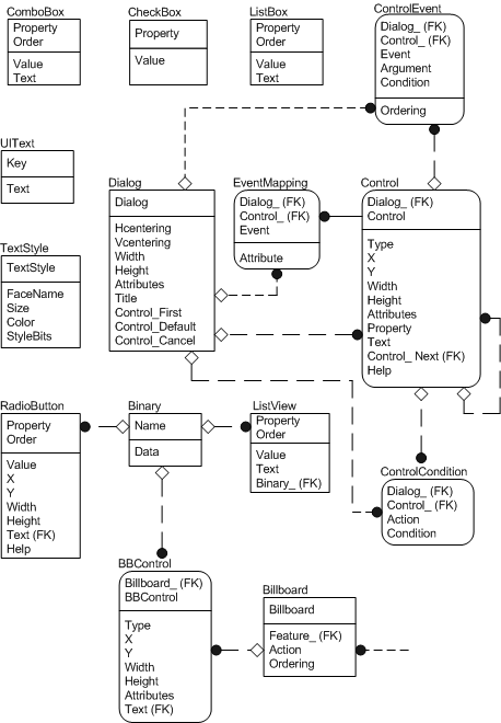
Schema van gebruikersinterface

gebruikersinterfaceschema

Zie legenda voor entiteitsrelatiesvoor meer informatie over dit diagram.