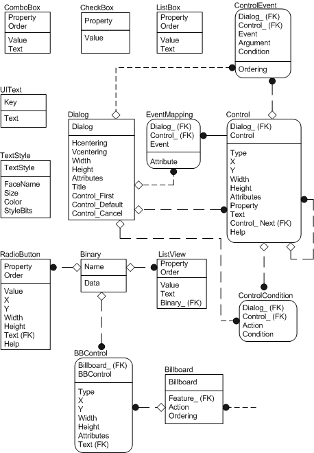
Schema för användargränssnitt

schema för användargränssnittet

Mer information om det här diagrammet finns i förklaringen entitetsrelationsdiagram.